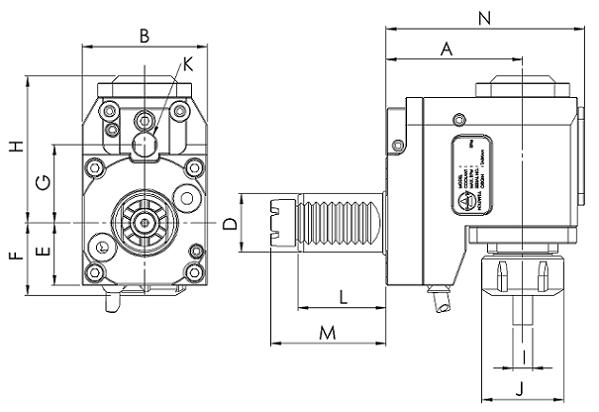
◎ VDI30-MT-ER25 Radial Offset Driven Tool Holder
◎ Tool Holder is produced in accordance with DIN 69880.
◎ Driven Coupling is according to SPUR MT TOEM.
◎ ER Collet is according to DIN6499.
◎ For left hand and right hand turret.
◎ Further option : 6000 RPM
◎ Gear Ratio:1:1
◎ R.P.M.:Max. 4,000 RPM

| Model No. | A | B | D | E | F | G | H | I | J | K | L | M | N | N.W. (KG) |
| THB-D04.70-30D | 70 | 64 | 30 | 32 | 37 | 40/63 | 75 | ER25(2~16) | 42 | 12 | 45 | 59 | 101.5 | 4 |
Unit:mm